bella Posted June 18, 2010 Share Posted June 18, 2010 In regula...o sa schimb doar timoneria si vad ce si cum mai gasesc pe acolo. Revin cu intrebarea...vaselina siliconica de unde as putea gasi? Merci Salex. Link to comment
TBird Posted July 1, 2010 Share Posted July 1, 2010 Salutare, am o intrebare poate ma ajuta cineva. De cand am luat masina, vit a 2-a intra mai greu ( cand retrogradez ) acum nu prea am fost atent daca pe viraje sau pe drum drept. Ideea este ca ieri am obs ca sa agravat situatia ( cand bag a 2-a din vit 1-a intra mai greu, ba chiar a scos si vre-o doua sunete mai nasoale asa ), dar inschimb intra vit 1-a chiar si in mers ceea ce inainte nici gand nu intra. Ce naiba ar putea fii? Sa fie din timonerie, tampoane motor sau sincroane cutie? Link to comment
madkat Posted July 1, 2010 Share Posted July 1, 2010 Uleiul din cutie e de cand masina? Mai e cat trebuie? Eu am avut niste probleme, de credeam ca s-a stricat cutia (tot pe tr a 2-a facea zgomote) si am descoperit ca nu prea mai avea ulei - completat si de aproape jumatate de an nu a mai facut nici o problema. Basca intrarea mai usoara in viteze. Link to comment
TBird Posted July 1, 2010 Share Posted July 1, 2010 Ce este drept, mai pierde ceva ulei pe la un semering de la planetara si l-am completat tot timpul, acum nu l-am verificat. Dar daca se minte pierderea/timp atunci ar trebui sa aiba o gramada, pierdea 100-150g la cateva luni de zile ( minim 5-6 ). Dar si inainte, imediat dupa ce completam...intra greu in vit a 2-a doar cand retrogradam. Acum m-am hotarat sa rezolv si problema asta... si nu stiu de unde sa ma apuc, nu cred ca are legatura cu uleiul din ea... Link to comment
Dj_Dark Posted July 1, 2010 Share Posted July 1, 2010 Si timoneria si sincroanele probabil, dupa atata timp e normal. Avand in vedere ca reparatia de cutie este foarte costisitoare, verifica ce a zis madkat, jocul timoneriei si eventual regleaz-o din nou. Link to comment
madkat Posted July 1, 2010 Share Posted July 1, 2010 La mine dupa 13 ani si aproape 90k km nu s-a umblat deloc in cutie, si nici nu se simte nevoia. Teoretic sub 150-200k km nu ai ce umbla. In locul tau ce as face - cum a zis Dj - verifica jocurile timoneriei, schimba TOT uleiul din cutie - si vezi ce se intampla. Daca tot face figuri atunci umbli in ea. Si cu uleiurile de cutie e un pic pacatoasa treaba - nu se amesteca prea bine intre ele, si cand ai dubii cu ce sa completezi mai bine schimbi tot - nu e asa scump si operatia e relativ simpla. Link to comment
TBird Posted July 1, 2010 Share Posted July 1, 2010 O sa ma documentez exact ce se demonteaza cum si ce fel. Am cumparat doua bucsi pentru timonerie. Treaba cu schimbat uleiul sunt de acord cu tine madkat ca nu e scump, si se schimba usor dar intervine problema cu semeringu de la planetara pe unde imi pierde acum si trebuie schimbat acolo inainte. Ca sa schimb semeringul ala imi cerea mecanicu manopera 100-150 ron, plus ca daca l-as schimba, le-as schimba pe amandoua. Va multumesc pentru sfaturi... Link to comment
nt98adu Posted July 1, 2010 Share Posted July 1, 2010 Faptul ca intra greu in 2 e numai si numai din timonerie. Schimba timoneria cu una noua sau bucseaza cu polimer pe cea veche. Link to comment
Dj_Dark Posted July 2, 2010 Share Posted July 2, 2010 Eu am schimbat sincronul la treapta a 5-a acum vre-o 3 ani. E diferenta intre un sincron nou si unul rulat 10 ani. Atunci cand toate au 10 ani, nu prea iti dai seama din lipsa de comparatie, insa in situatia mea, am vazut diferenta, si se vede si azi, cand cel "nou" are 3 ani si celelalte 14 . Problema nu e de dinti tociti, pur si simplu nu mai franeaza suficient de repede. O timonerie bine reglata amelioreaza problema destul de mult. Link to comment
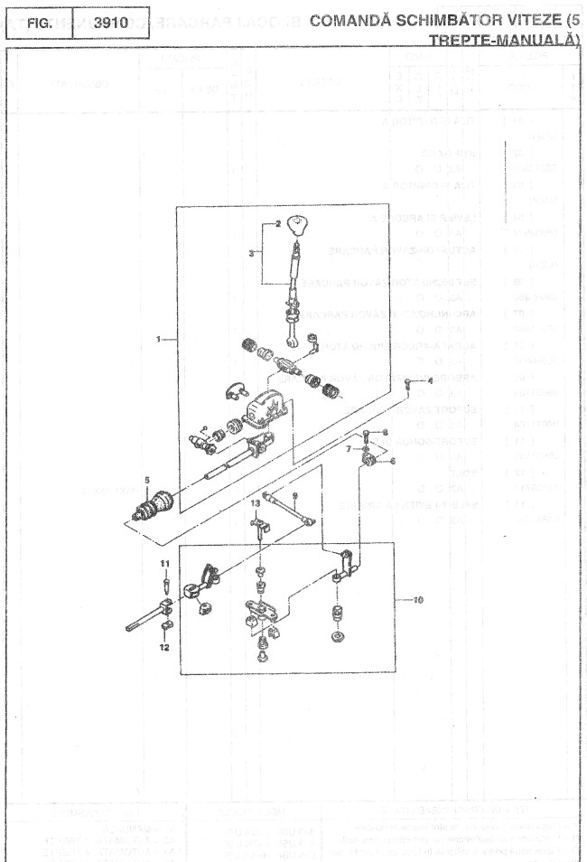
TBird Posted July 2, 2010 Share Posted July 2, 2010 (edited) Cum mama lui proces verbal ajung eu sa scot surubul cu nr 13 din poza? Am cumparat acele doua bucsi si vreau sa le schimb sa vad daca este vre-o diferenta. M-am uitat prin toate locurile, nu am cum sa ajung acolo nici pe sub masina si nici pe deasupra ca nu am maini de 1m Cielo cu motor DOHC este foarte inghesuit. Hai sa intreb altfel pot sa schimb acele 2 bucsi fara sa demontez toata timoneria? Ma gandeam sa scot doar acel surub. Daca cumva nu se vede in poza, dati Click ca se vede mai mare... Edited July 2, 2010 by TBird Link to comment
Salex Posted July 2, 2010 Share Posted July 2, 2010 Reperul 13 nu este surub. Este o simpla tija care are in capat o tabla otelita. Este suficient sa tragi de marginile tablei respective si sa tragi de el in sus. Imaginea de mai jos nu e grozava dar ar trebui sa te ajute: Link to comment
TBird Posted July 3, 2010 Share Posted July 3, 2010 Am rezolvat pana la urma, am schimbat acele doua bucsi. Multumesc Salex, dar oricat m-am chinuit eu nu am reusit, m-am dus la service. Acum dupa schimbarea lor zici ca am alta masina, schimbatorul este mult mai ferm si mai precis, intra ok in toate vitezele ( dar parca la vit a 2-a nu intra 100% perfect sa zic 95% ) Link to comment
URZI Posted July 7, 2010 Share Posted July 7, 2010 (edited) cat te-a costat? Edited July 7, 2010 by Salex Citare inutila mesaj anterior Link to comment
andu911 Posted July 18, 2010 Share Posted July 18, 2010 Sunt uleiurile cu specificatia GL5 ce contin niste aditivi pt presiune mare, aditivi care distrug sincroanele, fiindca sunt din bronz. Atentie la ce bagati in cutii. Link to comment
petro_ionut Posted May 16, 2011 Share Posted May 16, 2011 Salut, spune-ti-mi va rog ce ar putea avea cielo meu la treapta 1, care uneori refuza sa intre, trebuie ori sa fortez maneta, ori sa dau rpd alta viteza si sa revin la treapta 1?! Mersi. Link to comment
temagroup Posted September 24, 2011 Share Posted September 24, 2011 salutare , probleme cu "bagat" a 2 a am si eu la cielo meu, nu mereu intra , am incercat si cu turatie mica si mare, si cu cotiera si fara cotiera , si la rece si la cald... si nu reusesc sa gasesc o asociere cu ceva, placa de presiune slaba, timonerie, lipsa ulei cv, lipsa loc de manevre intre cotiera si schimbator... are momente in care merge normal dar unele momente in care nu pot face decat 1-3 si atat ("> ( ceva sfaturi? Link to comment
Corneda Posted September 26, 2011 Share Posted September 26, 2011 @petro_ionut Treapta 1 nu se foloseste decat pentru plecarea de pe loc. pentru viteze mici se foloseste cu incredere a 2a Si in cartea masinii scrie a nu se introduce in treapta 1 la viteze de peste 16 km \ h daca nu ma insel Link to comment
Salex Posted September 26, 2011 Share Posted September 26, 2011 are momente in care merge normal dar unele momente in care nu pot face decat 1-3 si atat Daca descrierea simptomelor este exacta, toate indiciile duc catre o problema in interiorul cutiei in zona sincronizatoarelor. Destul de ciudat, cutiile de Daewoo au fost foarte robuste, au picat destul de rar in conditiile unei utilizari corespunzatoare (ulei in cantitatea si specificatiile indicate de producator). Link to comment
temagroup Posted September 27, 2011 Share Posted September 27, 2011 (edited) mai ciudat ( pentru mine care nu sunt tocmai un afon in domeniu ) este faptulc a toate aceste simptome s-au accentuat dupa ce am avut motorul dat jos de pe masina pentru reparatie. cutia ramanand pe pozitie... am presupus ca o fi placa de presiune "moale" dar... speram ca s-a mai lovit careva de aceste probleme ! macar sa aud despre cum au rezolvat Edited September 27, 2011 by Salex Link to comment
raresvintea Posted November 7, 2014 Share Posted November 7, 2014 Am zgomot la timoneria de la cielo. Cu pedala apasata nu se mai aude. Banui ca sunt tijele cu maciulii in cap. Se gasesc? Se pot bucsa? Link to comment
voshod Posted November 7, 2014 Share Posted November 7, 2014 si la mine zarnaie timoneria de la cutie...cred ca o iau noua Link to comment
Lauritzen Posted April 29, 2017 Share Posted April 29, 2017 Buna ziua, am un cielo din 96 cu 93.000 km la bord și de ceva vreme mă confrunt cu următorul fenomen; în treptele 3 5 de aude un zgomot, că și când ar fi toba sparta, curios este că dacă mișc puțin de maneta nu se mai aude,dacă știe cineva ce poate fi vă mulțumesc f mult Link to comment
Geo_ZGA Posted May 2, 2017 Share Posted May 2, 2017 Vibreaza ceva probabil... vezi si tu pe unde ai joc, la maneta, plasticele din jur, timonerie... Link to comment
Salex Posted May 2, 2017 Share Posted May 2, 2017 Zgomotul provine, intr-adevar, de la timonerie insa problema se poate rezolva usor cu 2 O-ringuri de cauciuc. Dupa demontarea in bucati, cu siguranta vei observa cele doua O-ringuri la care am facut referire. De obicei, eu adaug un silicon de buna calitate, ceea ce scade foarte mult din jocurile inutile si ridica semnificativ precizia schimbarii vitezelor. Evident, exista varianta schimbarii intregului sub-ansamblu, ultima data vazusem timonerie la cca 110 lei. Link to comment
Lauritzen Posted May 3, 2017 Share Posted May 3, 2017 M.am uitat și este exclus sa fie din plastice, cineva mi.a spus că poate să fie timoneria dar oare la 93.000 km să pice așa dintr.o data?? Mulțumesc pt răspuns salex, dar unde sunt orringurile in partea de la schimbător s.au la motor unde face conexiunea la cutie? Link to comment
Recommended Posts
Create an account or sign in to comment
You need to be a member in order to leave a comment
Create an account
Sign up for a new account in our community. It's easy!
Register a new accountSign in
Already have an account? Sign in here.
Sign In Now